旋流除砂器
旋流除砂器產品概述
安徽華強環保科技有限公司生產的旋流除砂器是除砂器的一種,除砂器還包括過濾型除砂器。
工作原理及工藝流程
1、工藝流程原水-旋流除砂-精密過濾-儲水池-用戶
2、原理:旋流除砂器是根據離心沉降和密度差的原理,當水流在一定的壓力下,從除砂器進口以切向進入設備后,產生強烈的旋轉運動,由于砂水密度不同,在離心力、向心浮力、流體曳力的作用下因受力不同,從而使密度低的清水上升,由溢流口排出,密度大的砂由底部排砂口排出,從而達到除砂的目的。在一定范圍和條件下,除砂器進水壓力越大,除砂率越高,并可多臺并聯使用。

旋流除砂器特點及應用
1、結構簡單,成本低廉,易于安裝和操作,幾乎不需要維護。
2、與擴大管,緩沖箱等除砂設備相比,具有體積小,處理能力大,節省現場空間。
3、應用范圍:河水、井水除砂,洗煤水、工業選礦、固液分離、液體除氣以及非互溶液體的分離等。
4、應用領域:可應用于空調水處理、化學、石油、礦業、醫藥、紡織等許多行業 。主要技術參數
材質 低碳鋼
原水濁度 ≥300度
水濁度 ≤10度
進水壓力 ≥0.2~0.25
水頭損失 2mm
除砂直徑 >0.1mm
工作溫度 常溫
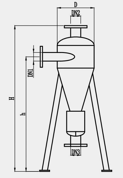
旋流除砂器規格
型 號 | 處理水量 | 進水壓力 | 平均除砂率 | 外型尺寸mm | 進水口DN1 | 出水口DN2 | 排污口DN3 | ||
T/H | MPa | % | D | H | h | mm | mm | mm | |
HQXL-20 | 20 | >0.2 | >96 | 159 | 850 | 650 | 40 | 50 | 32 |
HQXL-30 | 30 | >0.2 | >96 | 219 | 960 | 650 | 40 | 50 | 32 |
HQXL-40 | 40 | >0.2 | >95 | 325 | 1150 | 1080 | 50 | 65 | 40 |
HQXL-60 | 60 | >0.25 | >95 | 325 | 1150 | 1080 | 65 | 80 | 40 |
HQXL-70 | 70 | >0.25 | >92 | 426 | 1580 | 1300 | 80 | 100 | 50 |
HQXL-80 | 80 | >0.25 | >92 | 426 | 1580 | 1300 | 80 | 100 | 50 |
HQXL-100 | 100 | >0.3 | >90 | 426 | 1760 | 1350 | 100 | 125 | 50 |
HQXL-150 | 150 | >0.3 | >90 | 530 | 1760 | 1350 | 100 | 125 | 50 |
HQXL-180 | 180 | >0.3 | >90 | 530 | 2000 | 1550 | 125 | 150 | 65 |
HQXL-200 | 200 | >0.3 | >90 | 650 | 2334 | 1800 | 150 | 200 | 65 |

安裝示意圖
?
上一篇 : 沒有了
下一篇 : 沒有了